栏目列表+
推荐内容
作者:Evan;来源:;浏览人数: 219;发布于:2022-09-23 16:58:39;
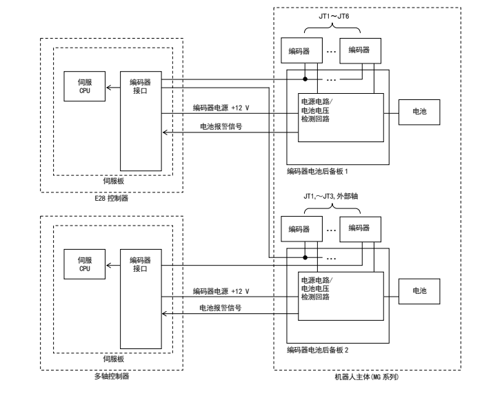
错误信息:编码器电池电压低。[电池后备板XX]
错误处理:显示
错误复位:可以
内容:
内置在MG系列的基座部并连接到编码器电池后备板的电池电压,跌落到了+3.3V以下。或编码器电池报警线束断路。请注意,此错误只有在控制器电源与马达电源都开启时,才能被检测到。
无外部轴

有外部轴

主要原因:
1.电池已老化。
2.编码器电池后备份有问题。
3.由于编码器有问题或编码器电池后备板到编码器的线束有短路现象等,引起电池消耗增加,减短了电池寿命。
4.来自编码器电池后备板的电池报警信号线断路。
5.伺服板有问题。
对策:
1.当此错误出现时,编码器的内部数据可能已经没有了。因此,请无误地确认:在示教模式下,当所有的轴的刻线对齐时(机械原点)时,所有轴的角度值都为0。如果角度值不为零,必须执行调零。

2.当错误信息中显示的编码器后备板电池跌落到+3.3 V以下时,请迅速更换电池。
3.检查各线束的连接状态。
4.更换编码器伺服板或编码器电池后备板。
